无锡瑞盈电力环保设备有限公司
邮 箱:ryhb70@163.com
地 址:无锡市滨湖区胡埭镇翔鸽路26号申新工业园


一、RVHB-II型徽动力除尘装置-简介
微动力除尘系统是本公司主的一种新型除尘设备,主要用于钢铁冶金 、矿山开采、热电厂、焦化厂、洗煤厂等。钢铁冶金、矿山、电厂等物料需要使用输料皮带机或其它方式输送的行业。在传送物料的过程中,由于转运落差,会使物料在下落的过程中产生大量冲击粉尘,对作业场所造成严重污染,给现场操作人员的身心健康带来危害。
在落料点处除尘多采用大型集中布袋式除尘器,因为高压静电式除尘器的制造、安装和运行都较为复杂,且造价高,后续维护繁琐、检修需要投入大量人力物力及费用,能耗大,使用一机多点管道连接,降低了除尘效果。
微动力除尘系统是一种单点小布袋除尘器,安装在落料点处,采用单点小布袋除尘方法,结构简单合理、节约能源、安装方便、使用地方广,体积小、 成本低、运行稳定、自动化程度高,尽可能避开高价格、高能耗、大空间、维修复杂等问题。
二、RVHB-II型徽动力除尘装置-设备原理
利用微动力凤机产生的负压,将粉尘吸附在滤袋上,避免粉尘外溢,再利用振打或脉冲反政等清灰装置,使粉尘脱离滤袋落在皮带上,随物料运走。
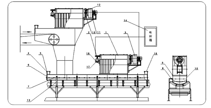
三、RVHB-II型徽动力除尘装置-设备构成
1、主箱体
主箱体中安装有便于更换的多条滤袋,并与导料槽或其它集尘罩构成一个密闭的空间,避免粉尘的外溢。
2、小功率引凤机
小功率引凤机提供负压,将有粉尘的气流吸附在主箱体中的滤袋上,避免粉尘的外溢。
3、过滤系统
过滤系统主要由多条滤袋组成,滤袋将粉尘隔离住,使排出的气流洁净无尘。
4、清灰装置
该装置有振打和脉冲反吹两种方式,当滤袋吸附一定粉尘后会影晌除尘效果,清灰时可以将滤袋上的粉尘震落在皮带上,恢复除尘效果。
5、阻尼装置
该装置由阻尼壳体、橡胶胶帘、橡胶板组成,安装在导料槽后部,避免粉尘的外泄。
6、减压装置
该装置由减压体、橡胶胶帘、橡胶板组成,安装在导料槽前部,避免粉尘的外泄。
7、控制系统
该系统由单片机、可控硅、继电器及相关电路组成,主要通过数据的采集, 通过运算,发出指令,控制小功率引凤机、清灰装置。并与设备运行信号相 连接,设备运行,除尘器也运行,起到减少消耗的作用。
四、RVHB-11型徽动力除尘装置-设备特点
1 、根据现场工况条件,可灵活安装使用。
2 、结构合理,设计新颖,除尘效率高,符合指标。
3、系统与输料设备启停同步,PLC控制,成熟稳定。
4、投资少,维护费用低。
5、动力消耗小,运行成本低。
6、按物料种类、温度、水分,选择滤料和胶条,除尘效果良好,增加使用寿命。
7、控制器具有远程控制接口,液晶屏显示,触摸键盘设定参数。
8、分箱清灰,增加清灰效率,避免清灰时粉尘外溢。
9、除尘效果良好,达到标准,适用矿山、钢厂、电厂、港口等原料的输送。
10、全部控制实现自动化。
11、无二次污染,清理好的粉尘会回到运输皮带机上及料仓内,节约原料,降低物料流失。
12、喷吹装置各部件具有良好的空气动力特性,因而清灰能力稳定,在低压暇吹压力下,对于颗粒较细、难以清灰的烟尘,仍有良好的清灰效果。
13、无新占地,该设备直接安装在皮带运输机的机头、机尾处,对其设备维修无影晌。
五、RVHB-11型徽动力除尘装置-应用范围
1、使用对象
适用于多种转速、带宽的输料皮带机、给料机、振动筛等设备。
2、适用行业
适用于炼铁、矿山、热电厂、焦化厂、洗煤厂等各行业的皮带输送机。
3、适合安装的位置
①皮带输送机转运站、料仓物料落入皮带输送机的落料点;
②螺旋输送机物料转运到皮带输送机的落料点;
③振动给料机物料落入皮带输送机的落料点;
④圆盘给料机物料落入皮带输送机的落料点;
⑤破碎机下部皮带输送机的落料点等;
⑥物料落差较大的现场可选用无动力抑尘装置;
⑦物料落差较小的现场可选用微动力除尘装置。
(一)、振动筛及破碎机除尘装置
振动筛及破碎机在工作过程中产生大量粉尘,污染严重,根据其自身特点,公司研发了适用于多种规格型号的振动筛及破碎机除尘装置。其设计关键是对扬尘点实行软密封,让粉尘有足够的空间循环。粉尘通过排尘孔进入除尘装置主体经滤袋分离。
设备由主体、离心风机、控制器、储气罐、密封胶帘 、检修门、软连接等部分构成。

(二)、可逆皮带除尘装置
可逆皮带一般将落料口下落的物料分别转运到两侧料仓或输料设备,当正转时物料落到A侧,反转时落到B侧。在这种情况下,需对可逆皮带落料口前后进行密封,并在皮带两侧各安装 一台除尘装置。设备由主体、离心凤机、控制器、储气罐行走辅轮、密封胶帘、检修门等部分组成。
(三)、移动卸料车除尘装置
移动卸料车随着皮带的移动,可将所运送的物料卸到停止时所对应的任意料仓。移动卸料车除尘装置的设计关键是除尘装置与卸料车一体移动,并让除尘效果良好。设备由主体、离心风机、控制器、储气罐、行走辅轮、阻尘胶帘、集尘罩、风管及自动卸灰装置等部分组成。

(四)、皮带转运站除尘装置
皮带转运站数量多,物料落差较大,可达1.5m-6m,建议使用RYHB-11微动力除尘装置,物料落差较小,在落料点上部不能形成足够负压时,建议使用RYHB-11微动力除尘装置。在一条线上,如果个别落料点适用无动力除尘装置,大部分点适用微动力除尘装置,为维护方便,建议全部采用微动力除尘装置。
设备由主体、离心凤机、控制器、储气罐(或振打电机)、阻尘胶帘(高温时用阻尘软帘)、检修门、阻尼器等部分组成。

4、设计方式
对于已形成的粉尘点,采用现场勘测、设计制做、安装调试的方式;对于新设计的项目,可根据设计图纸进行设计制做。
5、所适应的物料
适合粒度100mm以下的固态物料,温度-30℃~90℃。
六、RVHB-11型徽动力除尘装置-工艺指标
1、适用于多种转速、带宽的输料皮带机;
2、适用于平均直径小于100mm的物料;
3、适用于小于90℃的物料;
4、除尘效果达到相关标准;
5、除尘率,除尘器净化率良好。
七、RVHB-11型徽动力除尘装置-订货须知
订货客户需将扬尘点的现场概况、设备、所输送物料的种类及相关信息予以说明, 以便本公司工作人员进行现场勘测时进行必要的准备。
绿色、污染小、危险少、性能稳定是打造现代企业的成熟理念,无锡瑞盈电力环保设备有限公司将以充沛的热情,竭诚为广大客户提供贴心的服务。